Contact Us
|
CHINESE
Today is:
Homepage
About Us
Products
Examples
Contact Us
Product Series
Load cells
Miniature load cell
Pressure sensor
Tension sensor
Axis eliminate sensor
Weighing system
Weighing assembly
Portable axle load units
Resistance strain device
Pressure, temperature and power
series Digital Crane Scales
XY-31
Counter:1223 2012-04-25 16:05:58
产品型号:
XY-31型 称重传感器
产品图片:
材质:
合金钢
性能特点:
* 一种外形与吊车轴相同的传感器。
* 双剪切梁,抗偏载和扭曲能力强。
* 适用于各种吊机。
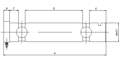
结构图:
量程\尺寸
A
B
C
D
E
H
3t
150
18
20
50
30
40
8t
210
20
24
74
36
60
15t
380
23
32
214
62
70
技术参数:
灵敏度
1mv/v
非线性
0.05%
滞 后
0.05%
重复性
0.02%
蠕 变
0.05%
零点输出
2%FS
零点温度系数
〈0.1%FS10
额定输出温度系数
〈0.1%FS
输出电阻
700
防护等级
IP66
『
Close the windows
』
CopyRight © 2008-2026 Wuxi Grasse Electric co.,Ltd.. All Rights Reserved